空气换热器
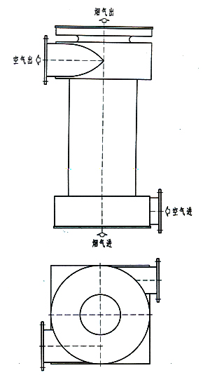
| 1、概述 加热炉窑为了降低能耗,在烟道中设置空气换热器,以回收烟气中的大量余热,达到节约燃料、降低生产成本,提高燃烧温度、增加炉子的产量。空气换热器是余热利用的理想设备,在轧钢加热炉、热处理炉、煅造加热炉等各种工业炉窑上得到广泛应用。炉用空气换热器的种类很多,目前国内外绝大多数采用的是金属换热器,空气换热器是利用炉窑排出的尾气热量将空气预热至一定的温度后返回炉内助燃或用于其它设备。金属换热器具有体积小、热交换效率高、严密性好、结构简单等特点。 2、GCJ型列管式空气换热器简介 GCJ型列管式空气换热器结构紧凑,水平、垂直烟道均能适用。该换热器传热面由管束组成,烟气(热源)在管外流动,助燃空气在管内流动。在换热管内加入麻花插件,用来改变空气传热面上流体的附面层,增加流动介质的紊流强度,增强空气侧的对流给热,从而提高了换热器的传热效率。由于列管式空气换热器所需的制作材料钢管和钢板市场供应充足,制作、安装工艺简单,不易漏气,不积灰等优点,因此在国内外得到普遍推广使用。 3、TPF型圆筒式空气换热器简介 TPF型圆筒式空气换热器结构紧凑,适用于垂直烟道。该换热器为圆筒式结构,由内筒、中筒、外筒巧妙地组合而成,内筒为换热筒,中筒为喷流筒。烟气在内筒通过,预热空气在外筒内以一定的速度通过中筒喷射到内筒上,从而获得热量。此换热器可适用高温烟气及含尘多的烟气,安装简便,可以作为烟囱的一部份。 4、制造检验 对于列管式换热器钢管与管板焊好后去除焊渣,用煤油作渗漏试验。出厂前换热器进行单体或整体试压,试验介质为空气,压力2000毫米水柱,1小时内不泄漏为合格。对于大型换热器,由于运输原因不能整体组装后出厂时,出厂前只进行单体试压。设备到达工地后组装焊接,然后进行整体试压。 5、安装 5.1按加热炉设计平面布置图或换热器安装示意图要求安装。 5.2 对换热器吊装入砌筑好的烟道或就位后砌筑烟道。 5.3对于带外壳的换热器就位直接与烟道连接。 5.4连接好进、出口风管道并进行保温包扎。 6、使用 6.1烟气温度达到400℃时换热器必需处于供风状态,预热温度超过设计值时,应增加风量,放散多余部份的热风。当进入换热器的烟气温度过高的可采取掺冷风措施。 6.2停炉时换热器应继续供风,不能立即停止风机,热风作放散处理,当进入换热器的烟气温度低于400℃时,方可关闭风机。 6.3突然停电容易造成换热器烧坏,应该尽量防止。如果出现这种情况,应立即关闭烟道闸门或采取措施降低烟气温度,使换热器不致于过热而损坏。 6.4如发现换热器有异常情况应及时查明原因并及时处理。 6.5换热器在正常情况下使用质保期限为一年。 7、洽谈订货 为了使换热器发挥的效益,请客户在选用本厂产品时提供以下技术参数: 7.1进入换热器的烟气流量 7.2进入换热器的空气流量 7.3进入换热器的烟气温度 7.4需要的空气预热温度 7.5国热炉型式 7.6加热炉燃料种类 7.7排烟方式 7.8允许换热器的烟气阻力损失 7.9允许换热器的空气阻力损失 7.10允许换热器的外形尺寸及接口尺 |
![]() |
![]() |
![]() |
在线订购
/ Order online


















